大中小
金刀峡镇便民服务中心低保服务指南
一、办理条件
本市居民,其家庭成员、家庭收入、家庭财产和消费支出符合《重庆市最低生活保障条件认定办法》规定的,可以按程序申请低保。
有承包土地或参加农村集体经济收益分配的居民申请农村低保;原农转城居民申请城市低保。
二、申请材料。
共同生活的家庭成员应当按规定提交相关材料,书面申明家庭收入、财产和支出状况并签字确认,履行授权核查家庭经济状况的相关手续,承诺所提供的信息真实、有效。应当提供的申请材料包括:
1.最低生活保障申请书;
2.居民户口簿、居民身份证、居住证复印件;
3.重庆市社会救助家庭经济状况核查授权书;
4.家庭收入、财产和支出状况相关有效证明材料;
5.其他相关有效证明材料。
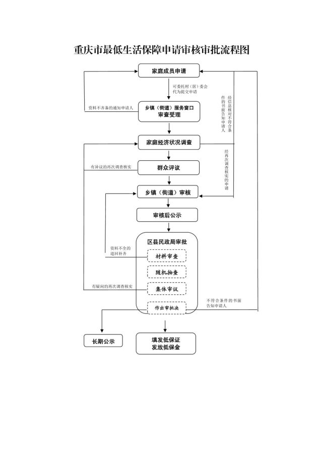
三、办理流程

四、办理时间
周一至周五(工作日)
上午9:00—12:00;下午:14:00—17:00
五、办理地点
金刀峡镇社保大厅或村(社区)办事处。
六、低保标准
城市居民最低生活保障标准750元/人·月;农村居民最低生活保障线标准610元/人·月。城乡低保分类重点救助标准仍按照原相关规定执行。
七、联系方式
申请人户籍所在地镇人民政府或街道办事处电话。
金刀峡镇咨询电话:023-68310892。